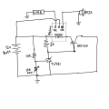
I made a low battery cutoff circuit to monitor my 12v lead acid battery using TL431. I followed the circuit diagram shown below. Sorry for the hand-drawn schematic. I am however not satisfied with the outcome, since I understood with my little knowledge of TL431 that it would work better than a regular OpAmp based comparator. When I built the cutoff circuit using comparator, the relay vigorously oscillated between NO and NC around the cutoff voltage. I thought it will be different when using a shunt regulator like TL431. But unfortunately it is behaving the same.
First of all I am finding it really difficult to set the cutoff voltage at around 12.3v using the pot, I could set it to around 11.5v only. But then too, the relay starts turning on and off rapidly after 11.7v and finally cuts off below 11.5v. Can someone please suggest if I am doing something wrong in this circuit? I am not an electronics expert, so don’t have the knowledge if this behaviour is expected. I am aware of the better alternatives like a special purpose IC made just for this purpose or microcontroller based solutions. But I am just trying to learn the reality here. Are all those websites flooded with similar TL431 based cutoff circuits referring basically this end result? Most of them shows a MOSFET based load driver, but I slightly modified it to drive a relay, so that I get a buzzer based sound alert as well, when the battery voltage is lower than cutoff.
PS: I am using a 14Ah battery and a 10 watt led panel as load. I thought using a reasonable load will help the battery voltage to drop significantly under load that matches my practical use case.

First of all I am finding it really difficult to set the cutoff voltage at around 12.3v using the pot, I could set it to around 11.5v only. But then too, the relay starts turning on and off rapidly after 11.7v and finally cuts off below 11.5v. Can someone please suggest if I am doing something wrong in this circuit? I am not an electronics expert, so don’t have the knowledge if this behaviour is expected. I am aware of the better alternatives like a special purpose IC made just for this purpose or microcontroller based solutions. But I am just trying to learn the reality here. Are all those websites flooded with similar TL431 based cutoff circuits referring basically this end result? Most of them shows a MOSFET based load driver, but I slightly modified it to drive a relay, so that I get a buzzer based sound alert as well, when the battery voltage is lower than cutoff.
PS: I am using a 14Ah battery and a 10 watt led panel as load. I thought using a reasonable load will help the battery voltage to drop significantly under load that matches my practical use case.

